電加熱潔凈蒸汽發生器120KW
本公司研發設計的電加熱潔凈蒸汽發生器,按照國家2016固定壓力容器標準設計,不需要報備報裝手續。
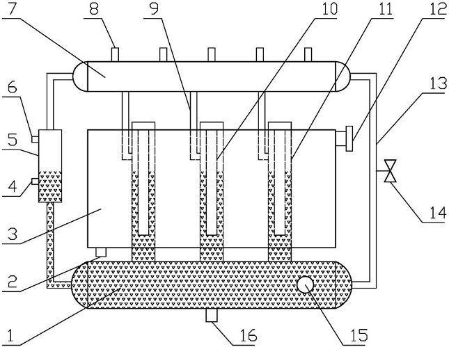
醫用類別的電加熱潔凈蒸汽發生器,采用304不銹鋼列管,其特征在于包括純水水箱、工業蒸汽容積室、蒸汽發生管、電加熱輔助裝置和蒸汽室,蒸汽發生管位于工業蒸汽容積室內部,其底部與純水水箱相通,上部一側的蒸汽出口通過管路與蒸汽室相通,蒸汽發生管內部設有電加熱輔助裝置。具有結構合理、能耗低、工作穩定可靠的優點。以工業蒸汽為主,以電加熱為輔產出潔凈蒸汽,降低了能耗,潔凈蒸汽產出穩定、效率高。這款產品也在2018年獲得國家專利。



外殼材質:304不銹鋼拉絲板
加熱管材質:304日本無縫鋼管
控制方式:PLC觸摸屏控制
外形尺寸:180*750*210
重量:400KG
列管數量:10支
產氣量:200KG

淄博佳銘環保科技有限公司成立于2010年,主營醫用供應室純水設備和電加熱蒸汽發生器設備,來自高等院校機械制造和自動化專業的專業工程師18名,發明專利和實用新型專利數十項,獲得了2019年度國家高新技術企業稱號,成為科技型企業。
佳銘咨詢熱線: 13869333675
0533-6053797
400-6910899

